首页

  1. 首页
  2. 造价知识
  3. 内容

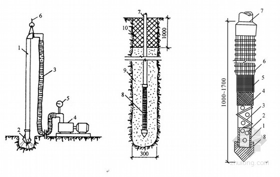
井点管具体概念是什么?

                            井点管具体概念是什么?

井点管
    为抽排地下水而埋设的无缝钢管或砼预制管,下端1.0m~1.5m为滤管。埋管方法有高压泵冲水管冲孔埋管,有泥浆护壁钻孔埋管。井点管简称井点。


 

 

相关文章

回到顶部
请复制以下网址分享
井点管具体概念是什么?
https://m.gc5.com/gczs/zjzs/10207625.html